144家钢企已进行超低排放改造公示
发表日期:2024/8/21 10:48:22 中国钢铁工业协会
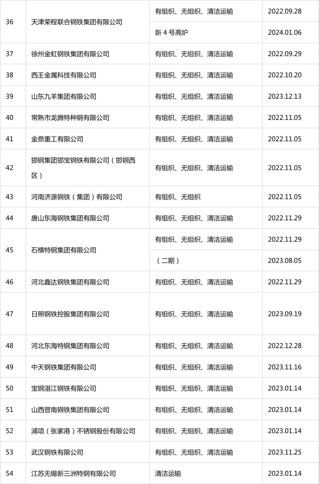
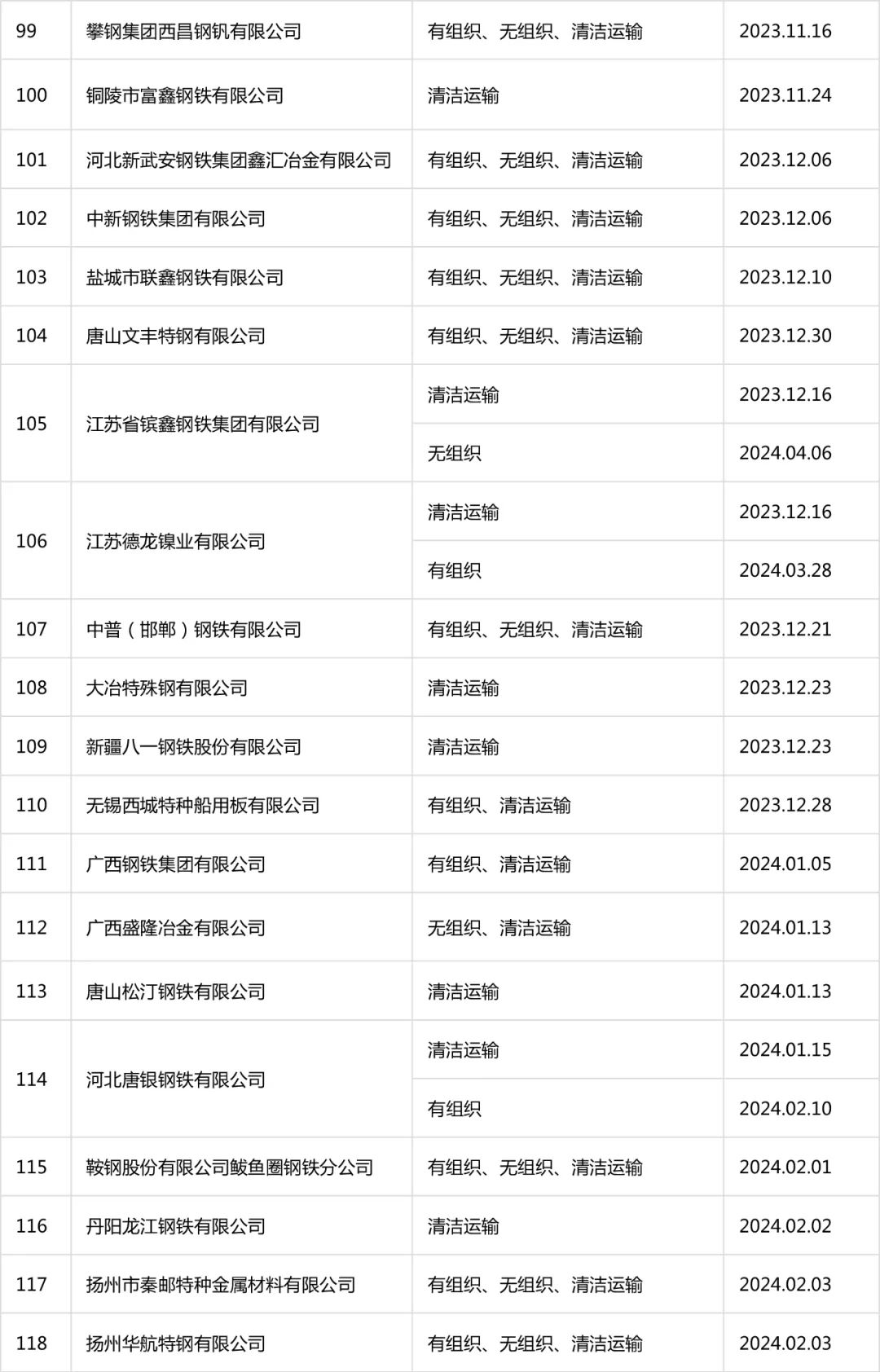
自2020年8月起,中国钢铁工业协会开展了钢铁企业超低排放改造和评估监测进展情况公示工作。截至目前,钢协网站已公示企业名单及各企业公示内容如下:
已公示企业名单汇总









(中国钢铁工业协会)
信息监督:马力 010-63967913 13811615299
免责声明:本文来源于网络,版权归原作者所有。兰格钢铁网站刊登本图文出于传递更多信息的目的,旨在为满足广大用户的信息需求而采集提供,并非广告服务性信息,如有侵权,请联系删除。更多钢铁价格信息,请下载兰格钢铁app查看

相关文章
- 144家钢企已进行超低排放改造公示2024/8/21
